實現基本DCGAN與ProgressiveGAN,與製作GUI測試訓練成果。
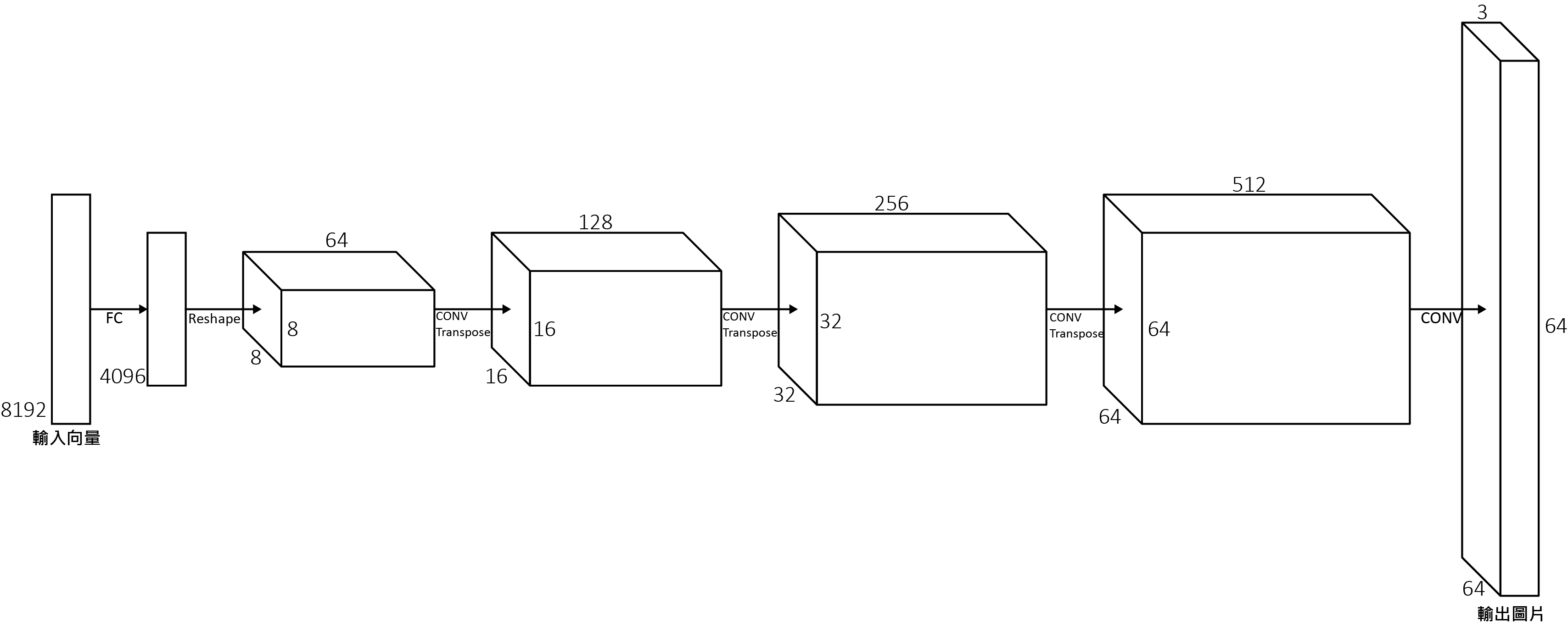
- FC : 全連接層,輸入8192,輸出4096。啟動函數LeakyReLU(alpha=0.01)。
- Reshape : 將輸入4096改為3維36464,已便使用捲積計算。
- CONV Transpose : 反捲積層,輸入6488,128個44 kernel,stride為2, padding為1,輸出為12816*16。啟動函數LeakyReLU(alpha=0.02)。
- CONV Transpose : 反捲積層,輸入1281616,256個44 kernel,stride為2, padding為1,輸出為25632*32。啟動函數LeakyReLU(alpha=0.02)。
- CONV Transpose : 反捲積層,輸入2563232,512個44 kernel,stride為2, padding為1,輸出為51264*64。啟動函數LeakyReLU(alpha=0.02)。
- CONV Transpose : 捲積層,輸入5126464,3個55 kernel,stride為1, padding為2,輸出為364*64。啟動函數使用Sigmoid。
- CONV : 反捲積層,輸入36464,128個44 kernel,stride為2, padding為1,輸出為6432*32啟動函數LeakyReLU(alpha=0.02)。
- CONV : 反捲積層,輸入643232,256個44 kernel,stride為2, padding為1,輸出為12816*16。啟動函數LeakyReLU(alpha=0.02)。
- CONV : 反捲積層,輸入1281616,512個44 kernel,stride為2, padding為1,輸出為2568*8。啟動函數LeakyReLU(alpha=0.02)。
- CONV : 捲積層,輸入25688,3個44 kernel,stride為2, padding為1,輸出為5124*4。啟動函數使用Sigmoid。
- Reshape : 將輸入51244改為1維8192。
- FC : 全連接層,輸入8192,輸出1。啟動函數Sigmoid。Dropout設0.2。
DCGAN: (https://imgur.com/kZdczmj)
ProgressiveGAN: (https://imgur.com/RJEhTRG)
[1] Alec Radford, Luke Metz, Soumith Chintala. Unsupervised Representation Learning with Deep Convolutional Generative Adversarial Networks. abs/1511.06434, 2016.
[2] another anime face dataset, 2021 .URL https://www.kaggle.com/datasets/scribbless/another-anime-face-dataset
[3] Tero Karras, Timo Aila, Samuli Laine, Jaakko Lehtinen. Progressive Growing of GANs for Improved Quality, Stability, and Variation. abs/1710.10196, 2018.



